全国免费热线
0731-82042415
煤的着火温度测定方法-长沙元德电子科技有限公司
2018-07-31 06:17:01
煤炭化验设备|煤的着火温度测定方法
方法提要
将煤样与氧化剂(亚硝酸钠)按一定比例混合,放入着火温度测定装置或自动测定仪中,以一定的速度加热,到一定温度时,
煤样突然燃烧,记录测量系统内空气体积突然膨胀或升温速度突然增加时的温度,作为煤的着火温度。
试剂
1 亚硝酸钠(GB/T 633):分析纯。
2 过氧化氢(GB/T 6684):质量分数为30%。
仪器设备
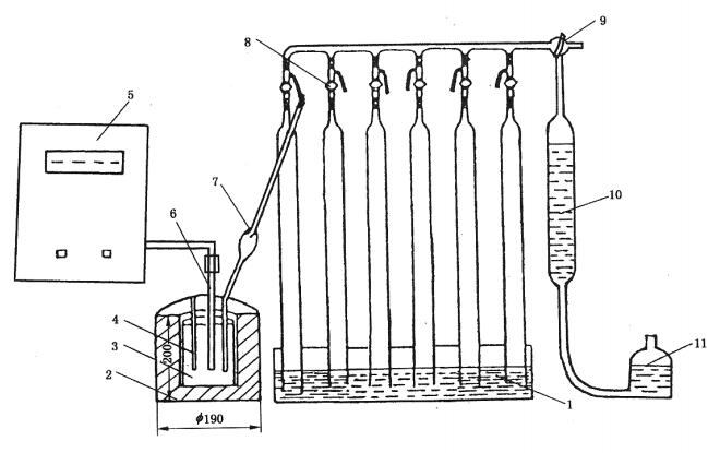
1 着火温度人工测定装置(见图1)

1-水槽;2-加热炉;3-铜加热体,4-试样管;5-温度测控仪;6-测温电偶;7-缓冲球;8-三通;9-三通;
10-量水管;11-水准瓶
图1 着火温度人工测定装置
1.1 加热炉:圆形,能加热到600ºC。
1.2 铜加热体(见图2):7孔

图2 铜加热体
1.3 温度测控仪:能在100~500ºC范围内控制升温速度为4.5~5.0ºC/min,测温精度1ºC。
1.4 试样管(见图3):耐热玻璃制
1.5 缓冲球(见图4)

2 着火温度自动测定仪(见图5):主要由加热装置(包括加热炉和铜加热体)和控制测量系统组成。
2.1 加热炉与铜加热体:同1.1和1.2.
2.2 控制测量系统:能在100~500ºC范围内控制升温速度为4.5~5.0ºC/min,测温精度1ºC,能自动判断和记录煤的着火温度。

1-加热炉;2-铜加热体;3-测温电偶;4-升降杆;5-控制测量系统
图5 着火温度自动测定仪
3 分析天平:感量1mg
4 玻璃称量瓶:直径约40mm,高约25mm,并带有严密的磨口盖。
5 玛瑙研体。
6 真空干燥箱:能自动控制温度在50~60ºC压力在53kpa以下。
7 鼓风干燥箱:能自动控制温度在105~110ºC。
8 干燥箱:内装硅胶。
煤样和试剂处理
1 按GB 474将煤样制成粒度小于0.2mm的一般分析样。
2 煤样处理
2.1 原样
将煤样置于温度为55~60ºC,压力为53kpa的真空干燥箱中干燥2h,取出放入干燥箱中。
2.2 氧化样
煤样用过氧化氢处理,在称量瓶中放0.5-1.0g煤样,用滴管滴入过氧化氢溶液(每克煤约加0.5mL),用玻璃棒搅匀,盖
上盖,在暗处旋转24h;打开盖在日光或白炽灯下照射2h;然后按2.1干燥样品。
3 试样处理
将亚硝酸钠放在称量瓶中,在105~110ºC的干燥箱中干燥1h,取出冷却并保存在干燥器中。
试验步骤:
1 人工测定法
1.1 称取已干燥的原样或氧化样(0.1±0.01)g放入玛瑙研钵中,加入经干燥过的亚硝酸钠(0.075±0.001) g,轻轻研磨1~2min。
使煤样与亚硝酸钠混合均匀。
1.2 按图1所示连接装置各部分。
1.3 把铜加热体放入低于100℃的加热炉内。
1.4 将混匀后的试样小心倒入试样管中,试样管与缓冲球连按,然后放入铜加热体中,插入测温电偶。
1.5 测定装置气密性检查:旋转测定装置储水管上的三通,使储水管与大气接通,向上移动水准瓶使水充满储水管。然后向下移动
水准瓶使水槽内的水进入量水管到一定水平,随即扭转量水管上的三通使量水管与缓冲球相通。如果量水管水位下降一定距离后即
停止,即证明气密良好,否则表明漏气,须检查原因予以纠正。
1.6 移动水准瓶,使量水管充满水,并使水准瓶水面与储水管水面保持水平位置,关闭量水管上的三通。
1.7 接通加热炉电源,开始升温,并控制升温速度为4.5~5.0℃/min,待升温至100℃时,每5min记录一次温度,到250℃时旋转量水
管上的三通,使量水管与缓冲球接通,随时观测量水管水位,当其突然下降时,记录相应的温度。
1.8 测出每个试样的着火温度后,切断电源,取出测温电偶,试样管和铜加热体。
2 自动测定法
2.1 接8.1.1所述称取和混匀试样。
2.2 将混匀后的试样小心倒入试样管中,将试样管放入铜加热体四周的圆孔中,并将铜加热体放入测定仪的加热炉中。
2.3 启动电源,按照仪器说明书的操作步骤进行试验。
2.4 试验结束后,取出铜加热体和试样管。
2.5 记录试验结果。
