全国免费热线
0731-82042415
煤质分析仪器粘结指数测定首选长沙元德电子科技有限公司
2018-07-25 06:09:24
煤质分析仪器烟灰某粘结指数测定方法GB/T 5447-1997
方法要点:
将一定重量的试验煤样和专用无烟煤,在规定的条件下混合,快速加热成焦,所得焦块在一定规格的转鼓内
进行强度检验,以焦块的耐磨强度,即对破坏抗力的大小表示试验煤样的粘结能力。
专用无烟煤
测定粘结指数专用无烟煤(简称专用无烟煤),符合GB/T 14181规定要求
仪器设备
1 本方法需用下列仪器设备:
1.1 分析天平:感量1mg。
1.2 马弗炉:具有均匀加热带,其恒温区(850±10)℃,长度不小于120mm,并附有调压器或定温控制器。
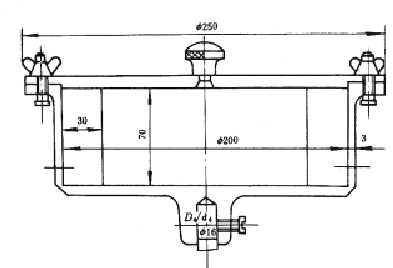
1.3 转鼓试验装置:包括两个转鼓、一台变速器和一台电动机,转鼓转速必须保证(50±2)r/min。转鼓
内经200mm、深70mm,壁上铆有两块相距180°、厚为3mm的挡板(图1)。

图1转鼓
1.4 压力器:以6kg质量压紧试验煤样与专用无烟煤混合物的仪器(图2)

图2压力器
1——底板;2——沉头螺钉;3——圆座;4——钢管;5——联板;6——堵板;7——支承轴;8——小轴;
9——垫圈;10——开口销;11——支撑架;12——手柄;13——压重;14——升降立轴;15——丝堵
2 用具:
2.1 坩埚和坩埚盖:瓷质(图3)

图3坩埚和盖
2.2 搅拌丝:由直径1mm~1.5mm的硬质金属丝制成(图4)

图4搅拌丝
2.3 压块:镍铬钢制成,质量为110g~115g(图5)。

图5压块
2.4 圆孔筛:筛孔直径1mm。
2.5 坩埚架:由直径3mm~4mm镍铬丝制成(图6)。

图6 坩埚架示意图
2.6 秒表。
2.7 干燥器。
2.8 镊子。
2.9 刷子。
2.10 带手柄平铲或夹子:送取盛样坩埚架出入马弗炉用。手柄长600mm~700mm,平铲外形尺寸(长×宽×厚)约为200mm×20mm×1.5mm.
3 煤样
3.1 试验煤样按GB 474制备成粒度小于0.2mm的空气干燥煤样,其中0.1mm~0.2mm的煤粒占全部煤样的20%~35%。煤样粉碎后并在试验前应混合均匀。
3.2 试验煤样应装在密封的容器中,制样后到试验时间不应超过一星期。如超过一星期,应在报告中注明制样和试验时间。
4 试验步骤
4.1 先称取5g专用无烟煤,再称取1g试验煤样放入坩埚(5.2.1),质量应称准到0.001g。
4.2 用搅拌丝(5.2.2)将坩埚内的混合物搅拌2min。搅拌方法是:坩埚作45°左右倾斜,逆时针方向转动,每分钟约15转,
搅拌丝按同样倾角作顺时针方向转动,每分钟约150转,搅拌时,搅拌丝的圆环接触坩埚壁与底相连接的圆弧部分。约经1min45s,
一边继续搅拌,一边将坩埚与搅拌丝逐渐转到垂直位置,约2min时,搅拌结束,亦可用达到同样搅拌效果的机械装置进行搅拌。
在搅拌时,应防止煤样外溅。
4.3 搅拌后,将坩埚壁上煤粉用刷子(5.2.9)轻轻扫下,用搅拌丝将混合物小心地拨平,并使沿坩埚壁的层面略低1mm~2mm,以便压块
(5.2.3)将混合物压紧后,使煤样表面处于同一平面。
4.4用镊子(5.2.8)夹压块(5.2.3)于坩埚中央。然后将其置于压力器(5.1.4)下,将压杆轻轻放下,静压30s。
4.5 加压结束后,压块仍留在混合物上,加上坩埚盖。注意从搅拌时开始,带有混合物的坩埚,应轻拿轻放,避免受到撞击与振动。
4.6 将带盖的坩埚放置在坩埚架(5.2.5)中,用带手柄的平铲或夹子(5.2.10)托起坩埚架,放入预先升温到850℃的马弗炉(5.1.2)内
的恒温区。要求6min内,炉温应恢复到850℃,以后炉温应保持在(850±10)℃。从放入坩埚开始计时,焦化15min,之后,将坩埚从马弗
炉中取出,放置冷却到室温。若不立即进行转鼓试验,则将坩埚放入干燥器(5.2.7
)中。马弗炉温度测量点,应在两行坩埚中央。炉温应定期校正。
4.7从冷却后的坩埚中取出压块。当压块上附有焦屑时,应刷入坩埚内。称量焦渣总质量,然后将其放入转鼓内,进行第一次转鼓(5.1.3)试验,
转鼓试验后的焦块用1mm圆孔筛(5.2.4)进行筛分,再称量筛上物质量,然后,将其放入转鼓进行第二次转鼓试验,重复筛分、称量操作。每次
转鼓试验5min即250转。质量均称准到0.01g。
