全国免费热线
0731-82042415
煤质分析仪器GB 4632-1997煤的最高内在水发测定
2018-07-24 03:17:45
煤质分析仪器煤的最高内在水分测定方法提要
煤样达到饱和吸水后,用恒湿纸除去大部分外在水分,在温度30ºC、相对湿度96%和常压下达到
温度平衡,然后在105~110ºC下干燥,以其质量损失百分数表示最高内在水分。
试剂
1 硫酸钾结晶及其饱和溶液:以10g化学纯的硫酸钾(HG 3-920)与3ml水的比例混合。
2 氮气:纯度99.9%,氧含量小于100µL/L。
3 干燥剂:无水硅胶或其他干燥剂。
仪器设备
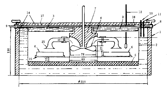
1 充氮常压法最高内在水分测定仪(简称调湿器,图1):要求温度能保持在(30+0.1)ºC,并能连续运转3昼夜以上。


2 振荡器:频率240/min,振幅40mm
3 充氮干燥箱
以下两种任选一种
3.1 小空间干燥箱:箱体严密,具有较小的自由空间,有氮气进口、出口,并带有自动控温装置,
能保持温度150~110ºC范围内。
3.2 普通干燥箱(见图2):能擦经历过的105~110ºC,恒温区内安装一金属金,尺寸为
200mm*100mm*60mm。盒内有一能容纳6个称量瓶的托盘。盒的一端没有氮气入口,用一根硅
胶管与氮气钢瓶相连,入口处用数层铜网遮住,以便分散气体;另一端设有小门,以便使托盘自由
出入并可作为氮气出口。

4 天平:感量0.1mg
5 水浴:能保持温度(30+1)ºC
6 真空泵:抽气量1L/s
7 吸滤瓶:3L
8 布氏漏斗:直径100mm
9 锥形瓶:250ml
10 标准筛:孔径为0.60mm及0.45mm的筛子各一个
11 恒湿纸:将定性滤纸切成约10mm*10mm,使用时往纸上喷些水,使其含水量约为13%-15%。
12 潮湿箱:体积约250mm*250mm*150mm的带盖木箱,箱内四周衬两层草板纸或定性滤纸。使
用时用水浸湿,箱底铺三层潮湿的道林纸。
13 称量瓶:直径约50mm,高约30mm,并带有严密的磨口盖。
