全国免费热线
0731-82042415
煤炭化验设备煤中氯的测定-长沙元德电子科技
2018-07-23 06:22:52
煤炭化验设备 GB/T 3558-1996 煤中氯的测定方法
方法A 高温燃烧水解-电位滴定法
煤样在氧气和水蒸气混合气流中燃烧和水解,煤中氯全部转化为氯化物并定量地溶于水中,以银为指示电极,银-氯化银为参比电极,用标准硝酸银电位法直接滴定冷凝液中的氯离子浓度,根据标准硝酸银溶液是量计算煤中氯的含量。
试剂和材料
1 石英砂:粒度0.5-1.0mm
2 硫酸溶液:浓度(1+5)(V+V),将20mL优级纯硫酸(GB 625)倒入100mL蒸馏水中,混匀。
3 氢氧化钠溶液:10g/L
4 琼脂粉:化学纯
5 硝酸钾饱和溶液:将足够量优级纯硝酸钾(GB/T 647)溶于适量水中,继续加入硝酸钾直至不再溶解。
6 乙醇(GB/T 678):分析纯
7 溴甲酚绿指示剂:10g/L乙醇溶液
8 标准氯化钠溶液:氯离子浓度(0.20mg/mL)
准确称取预先在500~600ºC灼烧1h后的优级纯氯化钠(GB/T 1266)0.659 6g溶于少量水中,再转入2000mL容量瓶中,稀释到刻度,摇匀。
9 标准硝酸银溶液:c(AgNO3)=0.0125moi/L
准确称取预先在110ºC烘烤1h的优级纯硝酸银(GB/T 670)2.123 6g,溶于少量水中,再转入1000mL棕色容量瓶中,稀释到刻度,摇匀。
10 瓷舟:长77mm,高和宽10mm,耐温1100ºC以上。
仪器设备
1 高温燃烧水解装置(见图1)

图1 高温燃烧水解装置
1.1 高温炉:能加热到1100ºC以上,有80~100mm长的恒温带(1 100+10ºC)。配有自动温度控制器。
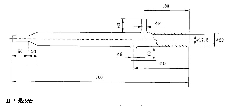
1.2 燃烧管:透明石英管,能耐温1300ºC以上,规格尺寸见图2

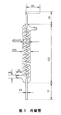
1.3 冷凝管:蛇形,规格尺寸见图3

1.4 水蒸汽发生器:由500ml平底烧瓶和可调压圆盘电炉(0.5KW,0~220V连续可调)构成。
1.5 流量计:满刻度1000ml/min,最小分度10ml/min
2 电位滴定装置,见图4

2.1 毫伏计:数字式,精度0.1mV
2.2 磁力搅拌器:转速连续可调
2.3 滴定管:10ml,A级
2.4 盐桥:加热溶解10g硝酸钾1.5g琼脂粉于50ml蒸馏水中,稍冷后流入U形玻璃管内。
2.5 指示电极:直径3mm的纯银丝。
2.6 参比电极:由直径3mm的纯银丝插在含有氯离子(CI¯)和氯化银沉淀的水溶液中,容器要求有避光性能或措施。
3 分析天平:感量0.1mg。
