全国免费热线
0731-82042415
煤炭化验设备|煤的可磨性指数测定方法-长沙元德
2018-07-21 02:59:50
煤炭化验设备煤的可磨性指数测定方法
方法提要
将一定粒度范围和质量的煤样,经哈氏可磨性测定仪研磨后在规定的条件下筛分,称量筛上煤样的质量。由研磨前的煤样量减去筛上煤样质量得到筛下煤样的质量。再从由标准煤样绘制的校准图上查得哈氏可磨性指
数。
仪器设备
1 哈氏可磨性测定仪(简称哈氏仪):如图1所示。电动机通过蜗轮、蜗杆和一对齿轮减速后,带动主轴和研磨环以(20+1)r/min的速度运转。研磨环驱动研磨碗内的8个钢球转动,钢球直径为25.4mm,由重块、齿
轮、主轴和研磨环施加在钢球上的总垂直力为(284+2)N。

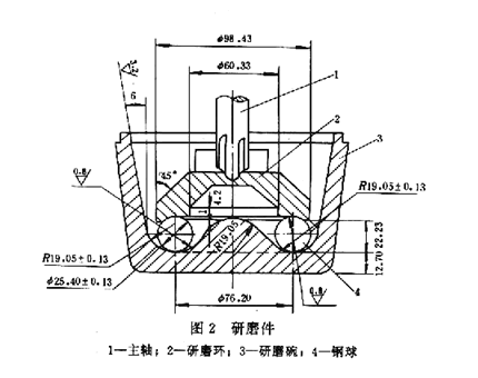
研磨碗与研磨环材质不同,并经过淬火处理,几何形状和尺寸如图2所示。

哈氏仪在用于可磨性指数测定之前,应用标准煤样进行校准。
2 试验筛(GB/T 6003):孔径为0.071mm、0.63mm、1.25mm,直径为200mm,并配有筛盖和筛底盘。
3 保护筛:能套在试验筛上的圆孔筛或方孔筛,孔径范围13~19mm。
4 振筛机:可以容纳外径为200mm的一组垂直套叠并加盖和筛底盘的筛子。垂直振击频率为149min,水平回转频率为221mm,回转半径为12.5mm。
5 天平:最大称量100g,感量0.01g。
6 托盘天平:最大称量1000g,感量1g。
7 二分器:符合GB 474的规定,分样格槽宽度为5mm。
8 破碎机:辊式破碎机,辊的间距可调,能将粒度6mm的煤样破碎到1.25mm,而只生成最小量的、小于0.63mm的煤粉。
